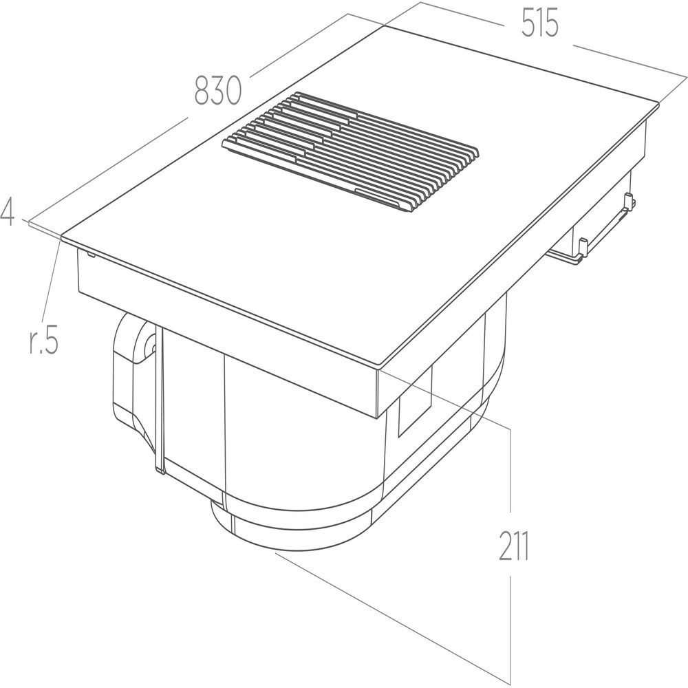
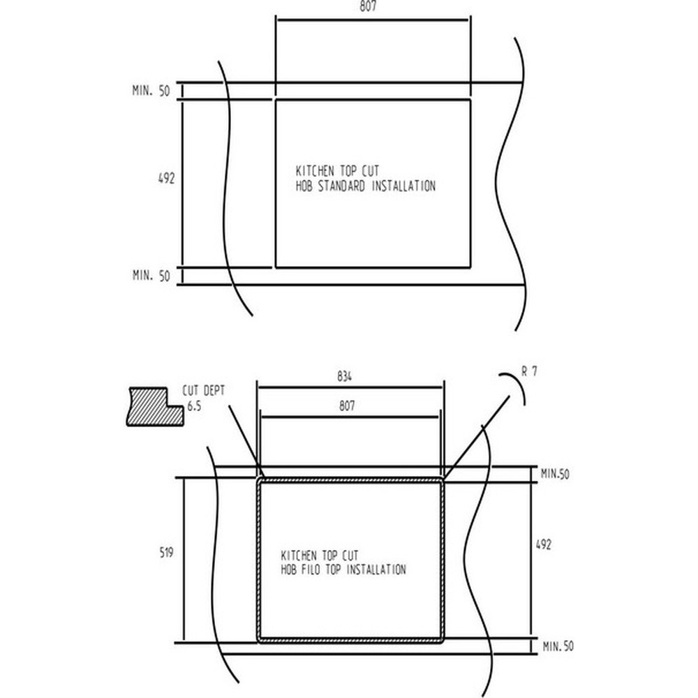
Варочная поверхность Elica NIKOLATESLA LIBRA EVO WH/A/83
Первая варочная поверхность с интегрированными весами
NikolaTesla Libra ― создана для тех, кто ищет воплощение самых необычных, при этом функциональных идей. Почувствуйте, как легко следовать любимым рецептам благодаря встроенным весам, находящимся всегда под рукой. Взвешивайте прямо в посуде при любой температуре и добавляйте ингредиенты на различных этапах приготовления. Не знаете, чем удивить? Взгляните на варочную поверхность NikolaTesla Libra.
Функции весов:
Обнуление веса
Сброс тары
Запоминание веса
Выбор единицы измерения
Максимальный измеряемый вес ― 10 кг
Интуитивный интерфейс
Чувствительные элементы управления моментально реагируют на Ваше касание, изменяя работу прибора. Сенсорная панель с чёткой и яркой подсветкой выглядит гармонично на поверхности из чёрного стекла, позволяя наслаждаться приятным и наглядным интерфейсом. Все настройки ― в прямом доступе.
Встроенная вытяжка: новый взгляд на повседневные процессы
Готовка всегда сопровождается появлением запахов и испарением жидкостей. Встроенная в центре варочной панели вытяжка эффективно захватывает испарения вокруг себя, прежде чем они успеют подняться наверх, оставляя воздух в помещении чистым и свежим. Скорость забора воздуха в моделях NikolaTesla составляет 5,1 м/с ― самая высокая на рынке.
Отвод воздуха или фильтрация: доверьтесь умным датчикам
Встроенная вытяжка может работать в режиме отвода или фильтрации воздуха. Система датчиков AirMatic полностью контролирует природу и количество испарений, выбирая оптимальную мощность втягивания. Сконцентрируйтесь и наслаждайтесь процессом готовки без лишних хлопот.
Для использования вытяжки в режиме рециркуляции необходимо приобрести комплект для рециркуляции с угольным фильтром.
В ручном режиме доступны 8 скоростей мотора и два интенсивных режима работы вытяжки с ограниченным временем в течении 15 и 5 минут. Все настройки осуществляются легким касанием сенсорной панели.
Четыре индукционные зоны с функцией Bridge
Готовьте, что душе угодно ― варочная панель оснащена четырьмя независимыми зонами нагрева, которые могут быть объединены в две, для использования нестандартной посуды, будь то утятница или панель для гриля. Данная функция обеспечивает равномерный нагрев посуды больших размеров, благодаря совместной работе двух зон.
Temperature Manager: готовьте одним касанием
Благодаря трём предустановленным температурным режимам выбор настроек стал ещё быстрее. Моментально устанавливайте и меняйте мощность: от медленного тушения до варки и интенсивного кипения. Выберите конфорку и нажмите на один из трёх индикаторов мощности ― что может быть проще?
Безопасность на всех уровнях
Варочная панель Elica NikolaTesla Libra помогает следить за безопасностью в доме. Датчик наличия кухонной посуды определяет наличие кастрюль на варочных зонах. При отсутствии посуды или её снятии с конфорки процесс нагрева не происходит. Каждая варочная зона имеет максимальное время непрерывной работы и автоматически отключается для предотвращения перегрева. Функция Recall позволит быстро восстановить параметры, в случае непредвиденного отключения электроприбора.
Индикация остаточного тепла для каждой зоны позволяет следить за остыванием поверхности. Для семей с маленькими детьми особенно будет важна функция блокировки управления. Она позволяет избежать случайного включения варочных зон и вытяжки. В процессе готовки можно заблокировать настройки, предотвратив их случайное изменение.
Легкий доступ к фильтрам
Фильтры вытяжки требую периодической очистки или замены. Благодаря запатентованной технологии Elica, Вы можете извлечь все фильтры сверху без всяких затруднений и вымыть внутреннюю поверхность. Жировой фильтр можно мыть в посудомоечной машине. Специальный индикатор загрязнения фильтров поможет своевременно следить за их состоянием и поддерживать эффективную работу устройства.



