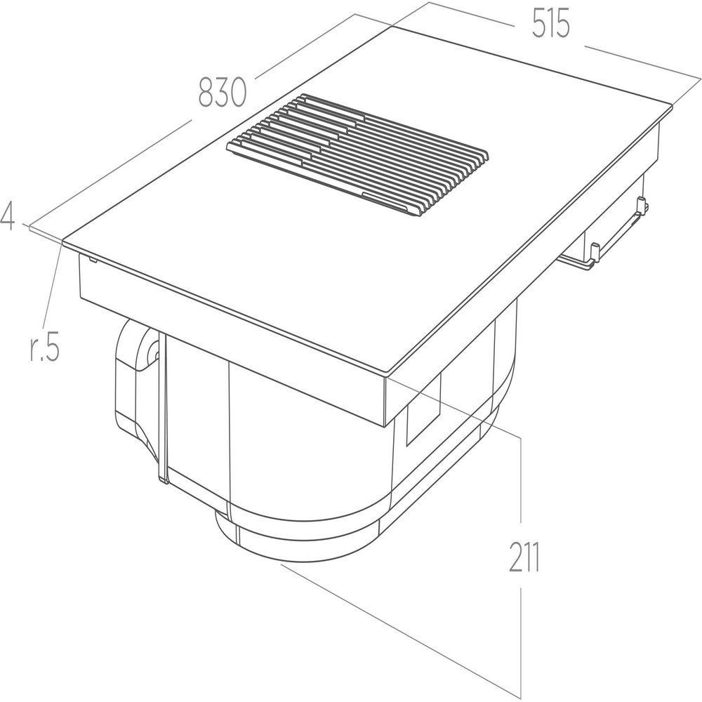
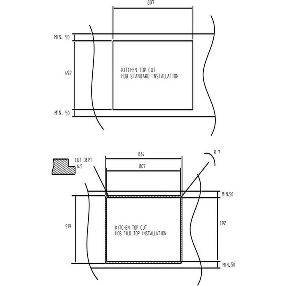
Варильна поверхня Elica NIKOLATESLA LIBRA EVO BL/A/83
Перша робоча поверхня з інтегрованими вагами
NikolaTesla Libra ― створена для тих, хто шукає втілення самих незвичайних, при цьому функціональних ідей. Відчуйте, як легко слідувати улюбленим рецептам завдяки вбудованим вагам, що знаходяться завжди під рукою. Зважуйте прямо в посуду при будь-якій температурі і додавайте інгредієнти на різних етапах приготування. Не знаєте, чим здивувати? Погляньте на варильну поверхню NikolaTesla Libra.
Функції ваг:
обнулення ваги
Скидання тари
запам'ятовування ваги
Вибір одиниці виміру
Інтуїтивний інтерфейс
Чутливі елементи управління моментально реагують на Ваш дотик, змінюючи роботу приладу. Сенсорна панель з чітким і яскравим підсвічуванням виглядає гармонійно на поверхні з чорного скла, дозволяючи насолоджуватися приємним і наочним інтерфейсом. Всі настройки — в прямому доступі.
Вбудована витяжка: новий погляд на повсякденні процеси
Готування завжди супроводжується появою запахів і випаровуванням рідин. Вбудована в центрі варильної панелі витяжка ефективно захоплює випаровування навколо себе, перш ніж вони встигнуть піднятися наверх, залишаючи повітря в приміщенні чистим і свіжим. Швидкість забору повітря в моделях NikolaTesla становить 5,1 м/с — найвища на ринку.
Відведення повітря або фільтрація: довіртеся розумним датчикам
Вбудована витяжка може працювати в режимі відведення або фільтрації повітря. Система датчиків AirMatic повністю контролює природу і кількість випарів, вибираючи оптимальну потужність втягування. Сконцентруйтеся і насолоджуйтеся процесом готування без зайвого клопоту.
Для використання витяжки в режимі рециркуляції необхідно придбати комплект для рециркуляції з вугільним фільтром.
В ручному режимі доступні 8 швидкостей мотора і два інтенсивних режими роботи витяжки з обмеженим часом на протязі 15 і 5 хвилин. Всі налаштування здійснюються легким дотиком сенсорної панелі.
Чотири індукційні зони з функцією Bridge
Готуйте, що душі завгодно — панель оснащена чотирма незалежними зонами нагріву, які можуть бути об'єднані в дві, для використання нестандартного посуду, будь то качатниця або панель для гриля. Ця функція забезпечує рівномірний нагрів посуду великих розмірів, завдяки спільній роботі двох зон.
Temperature Manager: готуйте одним дотиком
Завдяки трьом встановленим температурним режимам вибір налаштувань став ще швидше. Моментально встановлюйте і міняйте потужність: від повільного гасіння до варіння і інтенсивного кипіння. Виберіть конфорку і натисніть на один з трьох індикаторів потужності — що може бути простіше?
Безпека на всіх рівнях
Варильна панель Elica NikolaTesla Libra допомагає стежити за безпекою в будинку. Датчик наявності кухонного посуду визначає наявність каструль на варильних зонах. При відсутності посуду або його зняття з конфорки процес нагріву не відбувається. Кожна конфорка має максимальний час безперервної роботи і автоматично відключається для запобігання перегріву. Функція Recall дозволить швидко відновити параметри, в разі непередбаченого відключення електроприладу.
Індикація залишкового тепла для кожної зони дозволяє стежити за охолодженням поверхні. Для сімей з маленькими дітьми особливо буде важлива функція блокування управління. Вона дозволяє уникнути випадкового включення варильних зон і витяжки. У процесі готування можна заблокувати налаштування, запобігши їх виконання довільного збільшення.
Легкий доступ до фільтрів
Фільтри витяжки вимагаю періодичної очистки або заміни. Завдяки запатентованій технології Elica, Ви можете достати всі фільтри зверху без всяких труднощів і вимити внутрішню поверхню. Жировий фільтр можна мити в посудомийній машині. Спеціальний індикатор забруднення фільтрів допоможе своєчасно стежити за їх станом і підтримувати ефективну роботу пристрою.













